Фильтры
Сбросить

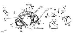
Облицовка приборной панели черный_BK-001UL SYM Maxsym 400 Maxsym 600, арт. 53208-L4A-000-KA

Артикул : 53208-L4A-000-KA

Облицовка приборной панели черный_BK-001UL SYM Maxsym 400 Maxsym 600, арт. 53208-L4A-000-KA

Артикул : 53208-L4A-000-KA

О товаре

53208L4A000KA

Описание

Бренд SYM
Производитель SYM parts
Тип товара Облицовка
Модель Unknown
Применяемость MAXSYM 400, MAXSYM 600
цена
2 422 ₽
Пока товар отсутствует на всех складах. Возможность будущих поставок будет уточняться
Подобрать аналоги