Фильтры
Сбросить

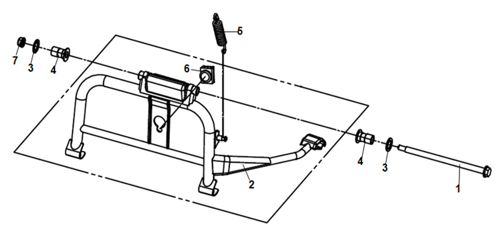
Подбор запчастей SYM Symphony ST 200 (XL20W1-EU) Рама Передние подножки