Фильтры
Сбросить

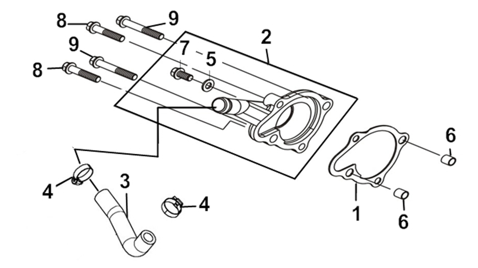
Подбор запчастей SYM CRUISYM (LV30W3-EU) Двигатель Помпа