Фильтры
Сбросить

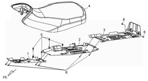
Подбор запчастей SYM ATV 600 LE Кузов/Электрика Сидение