Фильтры
Сбросить

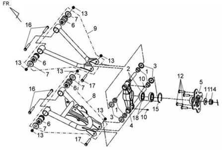
Подбор запчастей SYM ATV 600 LE Кузов/Электрика Задняя подвеска (правая сторона)

Наименование
Артикул
Кол-во в узле
Цена
Наличие
Аналоги
50202-REA-000
4
100
7
95801-10110-00
2
93
17
95801-10110-07
2
94