Фильтры
Сбросить

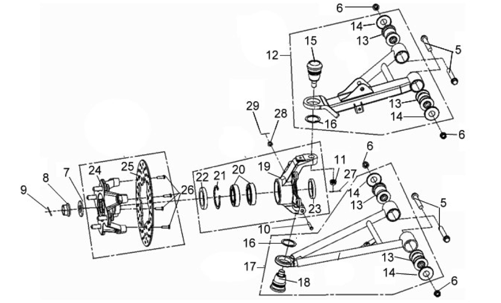
Подбор запчастей SYM ATV 600 (UA60A-6) Кузов/Электрика Передняя подвеска (правая сторона)

Наименование
Артикул
Кол-во в узле
Цена
Наличие
Аналоги
50202-REA-000
4
100
14
90105-KR3-000
4
65
26
90105-KR3-00A
4
47
90751-REA-000
1
56
27