Фильтры
Сбросить

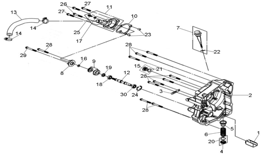
Подбор запчастей SYM ATV 300 (UA30A-6) Двигатель Правая крышка картера

Наименование
Артикул
Кол-во в узле
Цена
Наличие
Аналоги
11330-RB1-000
1
2
19502-RB1-000
1
13