Фильтры
Сбросить

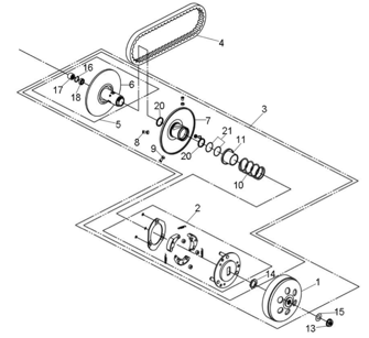
Подбор запчастей SYM ATV 300 (UA30A-6) Двигатель Сцепление

Наименование
Артикул
Кол-во в узле
Цена
Наличие
Аналоги
23210-HMA-000
1
6
91211-HMA-000
2
479
20