Фильтры
Сбросить

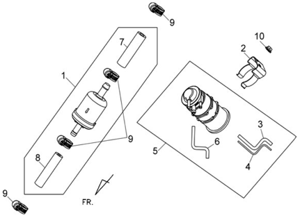
Подбор запчастей SYM Wolf 250 (EFIPD25A1-6) Кузов/Электрика Топливный фильтр