Фильтры
Сбросить

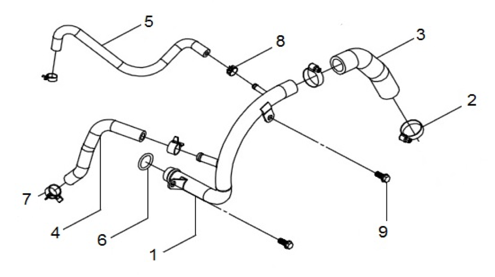
Подбор запчастей SYM MaxSYM 500 TL 2023 Двигатель Трубопроводы системы охлаждения