Фильтры
Сбросить

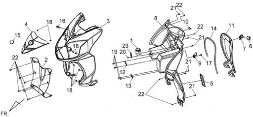
Подбор запчастей SYM Symphony SR-125 (AZ12W1-T) до 2017 Кузов/Электрика Передняя облицовка

Наименование
Артикул
Кол-во в узле
Цена
Наличие
Аналоги