Фильтры
Сбросить

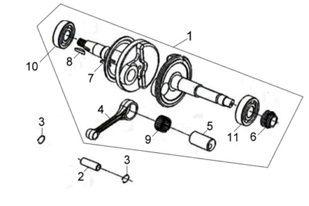
Подбор запчастей SYM Symphony SR-50 (AZ05W1-T) Двигатель Коленвал