Фильтры
Сбросить

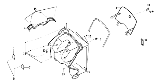
Подбор запчастей SYM RS 125 (HS12W2-6) Кузов/Электрика Облицовка рулевой колонки

Наименование
Артикул
Кол-во в узле
Цена
Наличие
Аналоги
64302-H3A-000-VC
1
2
64309-H6A-000
1
5
64316-H3A-000-KA
1
6
64317-H3A-000-KA
1
7
64318-H6B-000-GK
1
8
77233-GY6-900
1
567
77233-M9Q-000
1
317