Фильтры
Сбросить

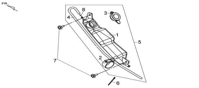
Подбор запчастей SYM MaxSYM 600 (LX60A2) Кузов/Электрика Резервный бак