Фильтры
Сбросить

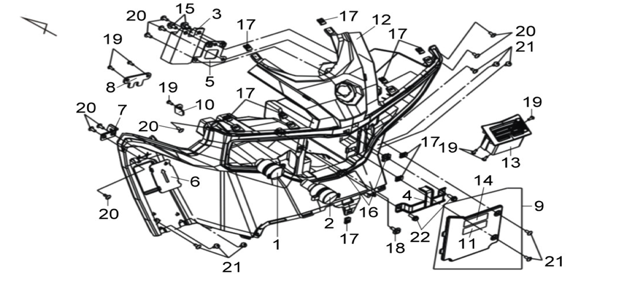
Подбор запчастей SYM MaxSYM 600 (LX60A2) Кузов/Электрика Облицовка рулевой колонки (перед)

Наименование
Артикул
Кол-во в узле
Цена
Наличие
Аналоги
*8114A-L4B-000
1
9
*81218-H3L-000
1
11