Фильтры
Сбросить

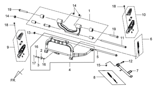
Подбор запчастей SYM JoyMax 300i Кузов/Электрика Подножки

Наименование
Артикул
Кол-во в узле
Цена
Наличие
Аналоги
5050A-L3A-000
1
6 611
4
5050A-L3A-900
1
6 435
90107-L3A-000
1
894
11
94102-08800
2
13
16
Шайба 8мм 94102-08000
94102-08000
2
9
95801-12095-07
2
326
19