Фильтры
Сбросить

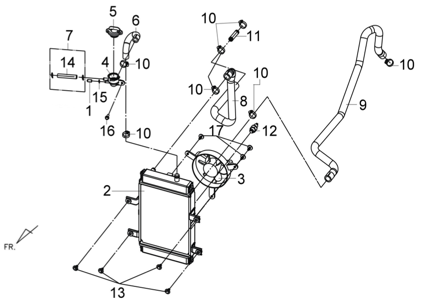
Подбор запчастей SYM JoyMax 300i Кузов/Электрика Охлаждение

Наименование
Артикул
Кол-во в узле
Цена
Наличие
Аналоги
95001-55550-40
1
14
95002-40800-08
1
120
15