Фильтры
Сбросить

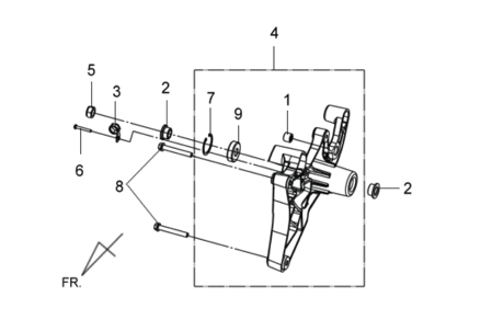
Подбор запчастей SYM JoyMax 300i Кузов/Электрика Маятник задней подвески