Фильтры
Сбросить

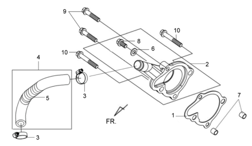
Подбор запчастей SYM JoyMax 300i Двигатель Водяной насос