Фильтры
Сбросить

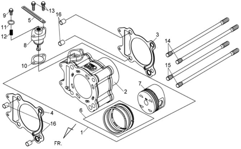
Подбор запчастей SYM JoyMax 300i Двигатель Цилиндр

Наименование
Артикул
Кол-во в узле
Цена
Наличие
Аналоги
13101-L3A-000
1
3 759
7
14525-H6T-000
1
102
12