Фильтры
Сбросить

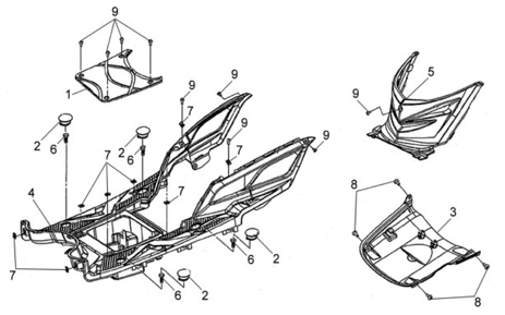
Подбор запчастей SYM Jet 4 50 Naked (JD05W4-6) Кузов/Электрика Облицовка пола