Фильтры
Сбросить

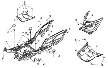
Подбор запчастей SYM Jet 4 50 (AD05W4-S ATD) Кузов/Электрика Облицовка пола