Фильтры
Сбросить

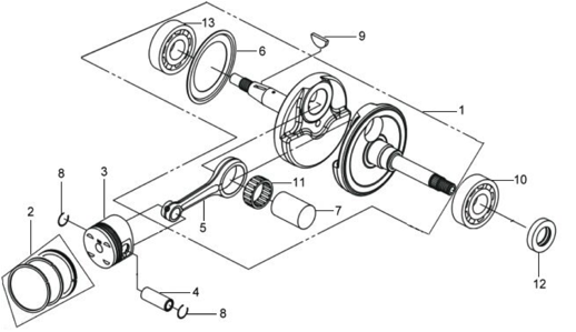
Подбор запчастей SYM GTS 250 (LM25W-6_edited) Двигатель Коленвал