Фильтры
Сбросить

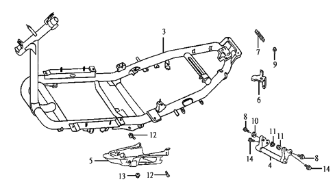
Подбор запчастей SYM EuroX 50 (BL05W7-6) Кузов/Электрика Рама