Фильтры
Сбросить

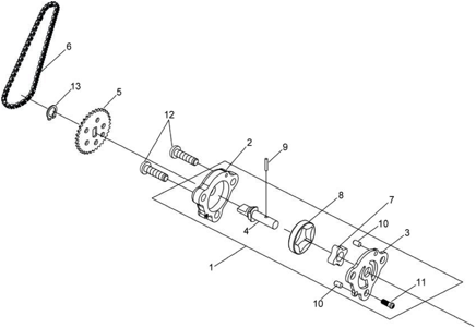
Подбор запчастей SYM CityCom 300 (LH30W-6) Двигатель Масляный насос