Фильтры
Сбросить

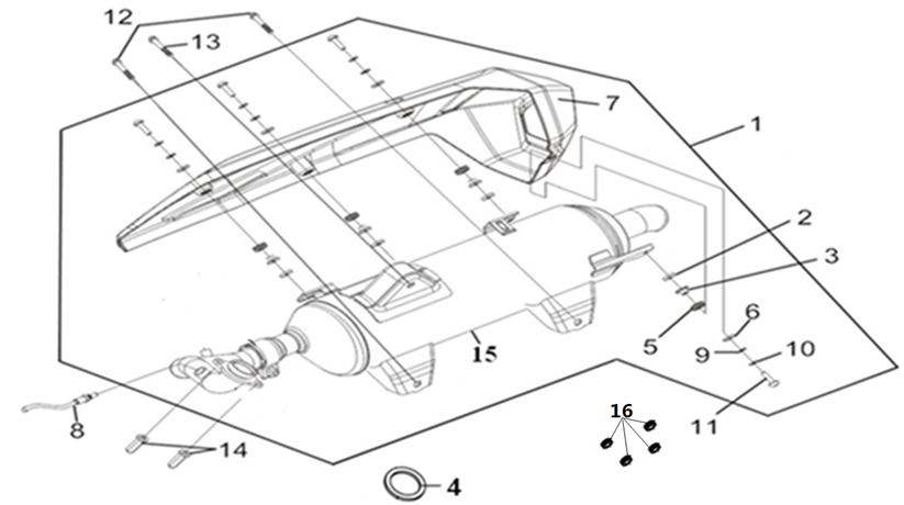
Подбор запчастей SYM JoyRide 300 LJ30W1-EU Рама Выхлопная система